UL U419
Interior Partitions, Steel Stud (Non-Load-Bearing)

  • Stc

    57
  • Fire Rating

    2 Hour
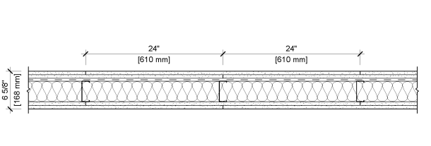
  • System Thickness

    6-5/8"
  • Stc 57
  • Fire Rating 2 Hour
  • System Thickness 6-5/8"
Assembly Details
  • Gypsum Board
    2 Layers of 5/8" [15.9 mm] Sheetrock® EcoSmart Gypsum Panel (UL Type ULIX™)
  • Resilient Channel
    1/2" [12.7 mm] resilient channel, 25 ga. (0.018"), 24" [610 mm] O.C.
  • Steel Studs
    3-5/8" [92 mm] steel studs, EQ25 (0.015"), 24" [610 mm] O.C.
  • Insulation
  • Gypsum Board
    5/8" [15.9 mm] Sheetrock® EcoSmart Gypsum Panel (UL Type ULIX™)
Notes
View assembly information on UL Website.
Compatible Products
Available insulation products for UL U419.
Performance+® EcoBatt® Insulation
Quality engineered thermal and acoustical fiberglass batt insulation with innovative ECOSE® technology is ideal for floors, walls, ceilings and attics.
Thickness
2.5" - 13.75"
R-Value
R-8 - R-49
Width
11" - 24"