UL U493
Chase Walls, Steel Stud (Non-Load-Bearing)

  • Stc

    63
  • Fire Rating

    2 Hour
  • System Thickness

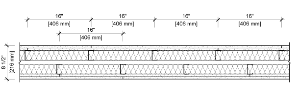
    8-1/2"
  • Stc 63
  • Fire Rating 2 Hour
  • System Thickness 8-1/2"
Assembly Details
  • Gypsum Board
    2 Layers 5/8" [15.9 mm] Sheetrock® EcoSmart Gypsum Panel (UL Type ULIX™)
  • Steel Studs
    2-1/2" [64 mm] steel studs, EQ20 (0.018"), staggered, 16" [406 mm] O.C.
  • Insulation
  • Air Space
    1" [25.4 mm] air space
  • Steel Studs
    2-1/2" [64 mm] steel studs, EQ20 (0.018"), staggered, 16" [406 mm] O.C.
  • Insulation
  • Gypsum Board
    2 Layers 5/8" [15.9 mm] Sheetrock® EcoSmart Gypsum Panels (UL Type ULIX™)
Notes
View assembly information on UL Website.
Compatible Products
Available insulation products for UL U493.
Performance+® EcoBatt® Insulation
Quality engineered thermal and acoustical fiberglass batt insulation with innovative ECOSE® technology is ideal for floors, walls, ceilings and attics.
Thickness
2.5" - 13.75"
R-Value
R-8 - R-49
Width
11" - 24"